客戶谘詢熱線:18944828889
0523-84888996
超高溫瞬時滅菌機
超高溫瞬時滅菌機
超高溫瞬時滅菌機
超高溫瞬時滅菌機
|
|
|
名稱 |
UHT-1型Type |
UHT-2型 Type |
|
|
|
|
|
生產能力 |
700-1000 |
1500-2000 |
|
|
|
|
|
殺菌時間 s |
≈4 |
≈4 |
|
|
|
|
|
殺菌溫度℃ |
115-135 |
115-135 |
|
|
|
|
|
蒸汽壓力 Mpa |
<0.78 |
<0.78 |
|
|
|
|
|
蒸汽耗量 kg/L |
0.15 |
0.15 |
|
|
|
|
|
物料出口溫度 ℃ |
4-65 |
4-65 |
|
|
|
|
|
泵用功率 kw |
1.5 |
2.2 (4.4) |
|
|
|
|
|
保溫時間 s |
≤45;≤65 |
≤45;≤65 |
|
|
本機適用於牛奶、豆奶、果汁等液態物料高溫瞬間滅菌,它具有高效、節能、操作簡單、滅菌效果好等特點。
一、產品型號、名稱
UHT型超高溫瞬時滅菌機
二、用途和適用範圍
本設備適用於鮮乳、果汁、飲料、棒冰及冰淇淋漿料、醬油、豆漿、煉乳、酒類等液體食料的瞬時滅菌,也可以用於流體藥料的滅菌,效果十分顯著。
三、主要結構與工作原理
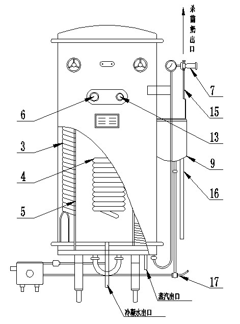
超高溫瞬時滅菌機的結構見圖1,在主機內裝著壓力容器--高溫桶(5)、用作充盛壓力蒸汽。桶外的主要設置時螺旋形雙套管(3),用作對進、出物料的冷熱交換;桶內的主要設置是螺旋形單管(4),用作間接受熱。
圖2繪出了物料的滅菌過程。物料通過供料泵(2)進入雙套盤管(3)的外層流道、由內層流出的熱料的間接加熱而得到預熱,當物料進入設置在高溫桶(5)內的高溫盤管(4)時,由於桶內的蒸汽間接加熱而被加熱到需要的滅菌溫度,然後在桶外單旋管內保溫而使物料的細菌被殺滅,當回到雙套盤管(3)時,物料便進入內層流道,被外層冷料所冷卻,從而使出料溫度顯著下降(一般低於65℃)。如工藝上需要提高或降低出料溫度時,可啟用角式截止閥(12),讓它接通熱源(蒸汽)或冷源(水、或冰水等),讓它們進入雙套管下端的外層流道。
節流閥(7)是可以調節的,一方麵使物料維持在一定的壓力之下,讓其沸點溫度提高,以防止淡化;另一方麵,也作調節流量用。物料zui後經三通旋塞(8)出料。該旋塞下端接著旋管(15)、其出口對著貯槽(9),當需要時,可旋動旋管對轉溢流管(16)。進料三通旋塞(1)的上端與貯槽(9)接通,下端則與料源管道相連接。
當需要提高處理能力時,可卸去”U”形管(17)改裝一隻離心泵,接法見圖3.
本機屬手控式滅菌機,滅菌溫度由角式截止閥(11)(見圖1、2)來調節、出料溫度可通過角式截止閥(12)來改變。蒸汽的壓力表(13)、滅菌溫度表(6)以及出料溫度表(14)均裝在主機上。
友情鏈接LINK
關於蘑菇视频成人入口
企業簡介聯係蘑菇视频成人入口案例展示產品中心
榨汁設備蘑菇视频在线观看成人設備破碎設備椰子加工設備去籽、去核、去梗設備輸送設備查看更多+新聞資訊
案例分享公司新聞行業資訊常見問題解決方案
蘋果、梨加工蘑菇视频黄色版橙子、檸檬、柑橘加工蘑菇视频黄色版新會柑果球加工蘑菇视频黄色版桃子、李子、杏子加工蘑菇视频黄色版番茄醬加工蘑菇视频黄色版芒果加工蘑菇视频黄色版梅幹菜、酸菜、鹹菜加工蘑菇视频黄色版菠蘿加工蘑菇视频黄色版百香果、西番蓮加工蘑菇视频黄色版藍莓、樹莓、草莓加工蘑菇视频黄色版紅棗、山楂加工蘑菇视频黄色版葡萄加工蘑菇视频黄色版沙棘果加工蘑菇视频黄色版刺梨加工蘑菇视频黄色版枇杷加工蘑菇视频黄色版微信二維碼
手機網站


江蘇蘑菇视频成人入口機械製造有限公司 版權所有 備案號:蘇ICP備76584661號 技術支持:【新超雲網絡】【Sitemap】